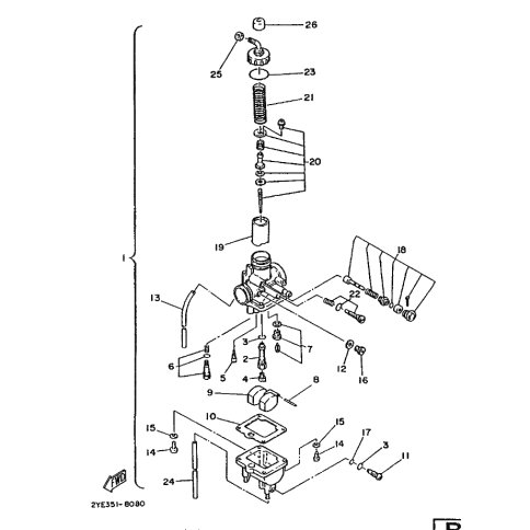
Artikelname: NADELSATZ (NEEDLE SET)
Hersteller: Yamaha
OEM Nummer: 12V-1490J-01 (12V1490J01)
Kategorien: Vergaser
1991
XT125
1988
XT125
Yamaha Motor Co., Ltd.
YAMAHA MOTOR EUROPE N.V.
Hansemannstraße 12, 41468 Neuss
Postfach 21 06 53, 41432 Neuss
Deutschland
https://global.yamaha-motor.com/
https://www.yamaha-motor.eu/de