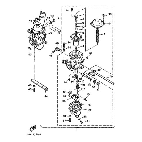
Artikelname: VERGASEREINHEIT 2 (CARBURETOR ASSY 2)
Hersteller: Yamaha
OEM Nummer: 16N-14902-10 (16N1490210)
Kategorien: Vergaser
1982
XS400
Yamaha Motor Co., Ltd.
YAMAHA MOTOR EUROPE N.V.
Hansemannstraße 12, 41468 Neuss
Postfach 21 06 53, 41432 Neuss
Deutschland
https://global.yamaha-motor.com/
https://www.yamaha-motor.eu/de