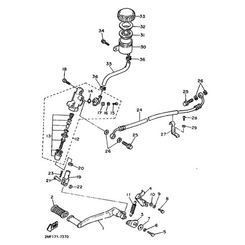
Artikelname: BREMSSCHLAUCH 1 (HOSE, BRAKE 1)
Hersteller: Yamaha
OEM Nummer: 1AE-25872-53 (1AE2587253)
Kategorien: Hauptbremszylinder
1991
FZ750
Yamaha Motor Co., Ltd.
YAMAHA MOTOR EUROPE N.V.
Hansemannstraße 12, 41468 Neuss
Postfach 21 06 53, 41432 Neuss
Deutschland
https://global.yamaha-motor.com/
https://www.yamaha-motor.eu/de