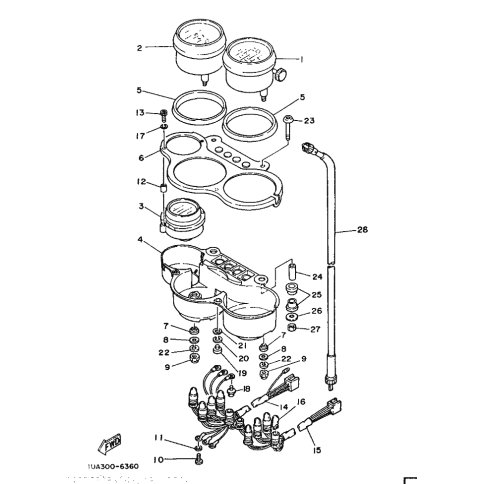
Artikelname: INSTRUMENTENTAFEL (PANEL, METER)
Hersteller: Yamaha
OEM Nummer: 1AR-83611-00 (1AR8361100)
Kategorien: Meter, Tacho
1989
TZR250
1988
TZR250
1987
FZR250
TZR250
1986
RD350LC
Yamaha Motor Co., Ltd.
YAMAHA MOTOR EUROPE N.V.
Hansemannstraße 12, 41468 Neuss
Postfach 21 06 53, 41432 Neuss
Deutschland
https://global.yamaha-motor.com/
https://www.yamaha-motor.eu/de