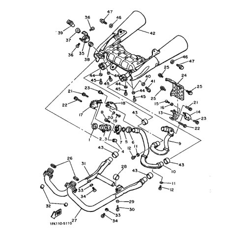
Artikelname: AUSPUFFROHREINHEIT 1 (EXHAUST PIPE ASSY 1)
Hersteller: Yamaha
OEM Nummer: 1FK-14610-00 (1FK1461000)
Kategorien: Auspuff
1992
VMX1200
1991
VMAX 1200 (VMX12)
VMAX 1200 (VMAX12)
1990
VMAX 1200 (VMX12)
VMAX 1200 (VMAX12)
1988
VMX1200
Yamaha Motor Co., Ltd.
YAMAHA MOTOR EUROPE N.V.
Hansemannstraße 12, 41468 Neuss
Postfach 21 06 53, 41432 Neuss
Deutschland
https://global.yamaha-motor.com/
https://www.yamaha-motor.eu/de