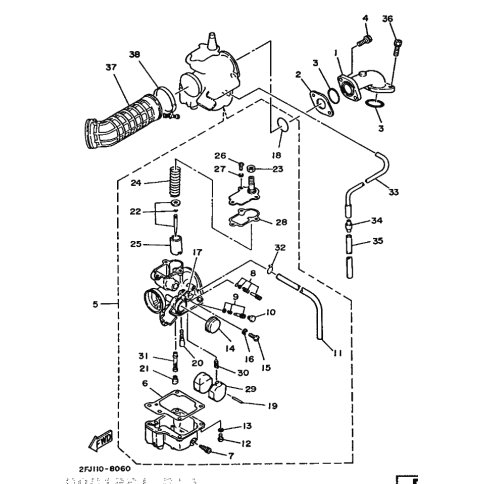
Artikelname: HAUPTZERSTAUBER (NOZZLE, MAIN)
Hersteller: Yamaha
OEM Nummer: 22K-14141-12 (22K1414112)
Kategorien: Einlass
1988
BADGER (YFM80T)
Yamaha Motor Co., Ltd.
YAMAHA MOTOR EUROPE N.V.
Hansemannstraße 12, 41468 Neuss
Postfach 21 06 53, 41432 Neuss
Deutschland
https://global.yamaha-motor.com/
https://www.yamaha-motor.eu/de