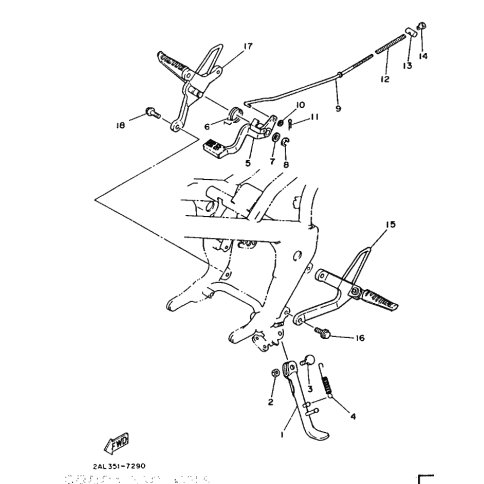
Artikelname: BREMSSTANGE (ROD, brake)
Hersteller: Yamaha
OEM Nummer: 2AL-27231-00 (2AL2723100)
Kategorien: Ständer & Fussraste, Fußstütze Stehen
1991
YSR80
1988
YSR80
1987
YSR50
YSR50T
1986
YSR80
Yamaha Motor Co., Ltd.
YAMAHA MOTOR EUROPE N.V.
Hansemannstraße 12, 41468 Neuss
Postfach 21 06 53, 41432 Neuss
Deutschland
https://global.yamaha-motor.com/
https://www.yamaha-motor.eu/de