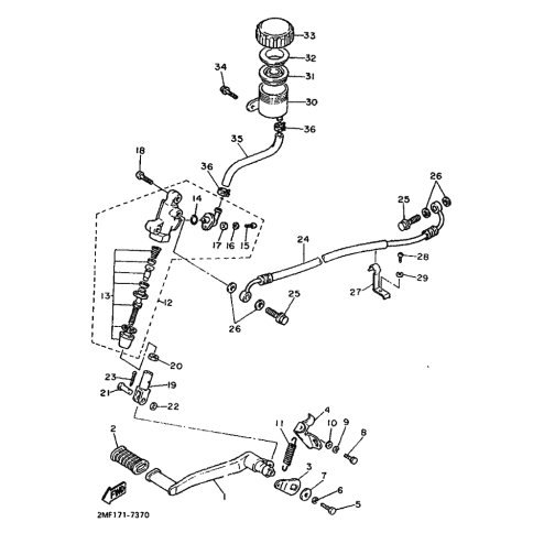
Artikelname: HALTER, BREMSSCHLAUCH 1 (HOLDER, BRAKE HOSE 1)
Hersteller: Yamaha
OEM Nummer: 2KT-25875-00 (2KT2587500)
Kategorien: Hauptbremszylinder
1991
FZ750
1990
FZ750
1989
FZ750
1988
FZ750
1987
FZ750T
FZ750
FZ750 T
Yamaha Motor Co., Ltd.
YAMAHA MOTOR EUROPE N.V.
Hansemannstraße 12, 41468 Neuss
Postfach 21 06 53, 41432 Neuss
Deutschland
https://global.yamaha-motor.com/
https://www.yamaha-motor.eu/de