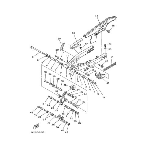
Artikelname: SCHUTZ (PROTECTOR)
Hersteller: Yamaha
OEM Nummer: 34X-27491-00 (34X2749100)
Kategorien: Hinterer Arm
1987
DT125R
1985
DT125R
Yamaha Motor Co., Ltd.
YAMAHA MOTOR EUROPE N.V.
Hansemannstraße 12, 41468 Neuss
Postfach 21 06 53, 41432 Neuss
Deutschland
https://global.yamaha-motor.com/
https://www.yamaha-motor.eu/de