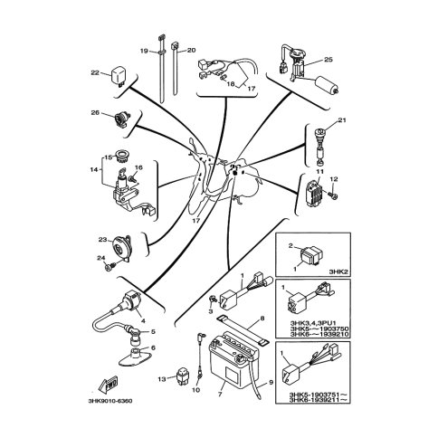
Artikelname: KABELBAUM KOMPL (????????????)
Hersteller: Yamaha
OEM Nummer: 3HK-82590-10 (3HK8259010)
Kategorien: Allgemein
1991
MINT (SH50)
Yamaha Motor Co., Ltd.
YAMAHA MOTOR EUROPE N.V.
Hansemannstraße 12, 41468 Neuss
Postfach 21 06 53, 41432 Neuss
Deutschland
https://global.yamaha-motor.com/
https://www.yamaha-motor.eu/de