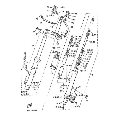
Artikelname: KOLBEN, VORDERRADGABEL (PISTON, FRONT FORK)
Hersteller: Yamaha
OEM Nummer: 3JJ-23171-00 (3JJ2317100)
Kategorien: Gabel
1991
VENTURE ROYAL (XVZ13TD)
1990
VENTURE ROYAL (XVZ13TD)
Yamaha Motor Co., Ltd.
YAMAHA MOTOR EUROPE N.V.
Hansemannstraße 12, 41468 Neuss
Postfach 21 06 53, 41432 Neuss
Deutschland
https://global.yamaha-motor.com/
https://www.yamaha-motor.eu/de