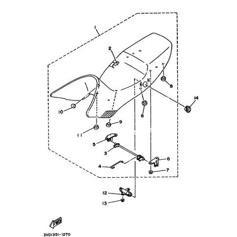
Artikelname: SITZBANK KOMPL (DOUBLE SEAT ASSY)
Hersteller: Yamaha
OEM Nummer: 3VD-24730-10 (3VD2473010)
Kategorien: Sitz
1992
TDM850
Yamaha Motor Co., Ltd.
YAMAHA MOTOR EUROPE N.V.
Hansemannstraße 12, 41468 Neuss
Postfach 21 06 53, 41432 Neuss
Deutschland
https://global.yamaha-motor.com/
https://www.yamaha-motor.eu/de