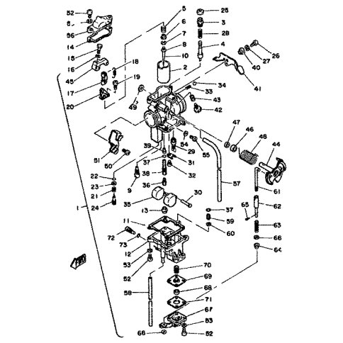
Artikelname: KAPPE, VOLLKOLBEN (CAP, PLUNGER)
Hersteller: Yamaha
OEM Nummer: 3Y1-14174-00 (3Y11417400)
Kategorien: Vergaser
1981
XT250
Yamaha Motor Co., Ltd.
YAMAHA MOTOR EUROPE N.V.
Hansemannstraße 12, 41468 Neuss
Postfach 21 06 53, 41432 Neuss
Deutschland
https://global.yamaha-motor.com/
https://www.yamaha-motor.eu/de