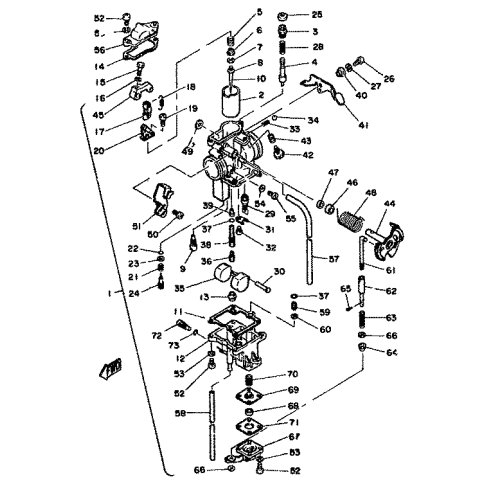
Artikelname: SCHRAUBE (SCREW)
Hersteller: Yamaha
OEM Nummer: 3Y1-24453-00 (3Y12445300)
Kategorien: Vergaser
1981
XT250
Yamaha Motor Co., Ltd.
YAMAHA MOTOR EUROPE N.V.
Hansemannstraße 12, 41468 Neuss
Postfach 21 06 53, 41432 Neuss
Deutschland
https://global.yamaha-motor.com/
https://www.yamaha-motor.eu/de