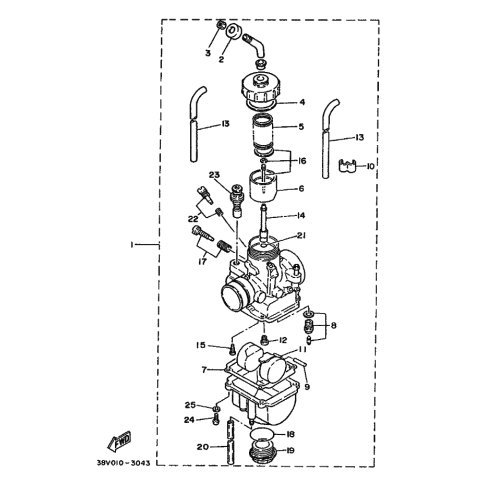
Artikelname: LUFTREGULIERSCHRAUBENSATZ (AIR SCREW SET)
Hersteller: Yamaha
OEM Nummer: 46Y-14104-00 (46Y1410400)
Kategorien: Vergaser
1996
TY250Z
1995
TY250Z
1994
TY250Z
TY250 (TY250Z)
1993
TY250 (TY250Z)
1991
TY250 (TY250R)
1988
TY250R
TY250
Yamaha Motor Co., Ltd.
YAMAHA MOTOR EUROPE N.V.
Hansemannstraße 12, 41468 Neuss
Postfach 21 06 53, 41432 Neuss
Deutschland
https://global.yamaha-motor.com/
https://www.yamaha-motor.eu/de