Artikelname: SCHRAUBE, VERSCHLUSSKAPPE (BOLT,CAP)
Hersteller: Yamaha
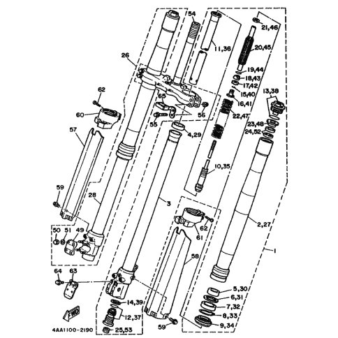
OEM Nummer: 4AA-23111-L0 (4AA23111L0)
Kategorien: Gabel
1992
WR500Z
Yamaha Motor Co., Ltd.
YAMAHA MOTOR EUROPE N.V.
Hansemannstraße 12, 41468 Neuss
Postfach 21 06 53, 41432 Neuss
Deutschland
https://global.yamaha-motor.com/
https://www.yamaha-motor.eu/de