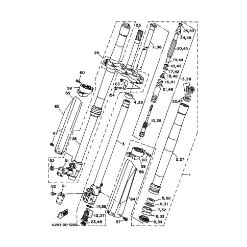
Artikelname: VALVE COMP (VALVE COMP)
Hersteller: Yamaha
OEM Nummer: 4JW-2316A-10 (4JW2316A10)
Kategorien: Gabel
1996
WR250Z
1995
WR250Z
1994
WR250Z
Yamaha Motor Co., Ltd.
YAMAHA MOTOR EUROPE N.V.
Hansemannstraße 12, 41468 Neuss
Postfach 21 06 53, 41432 Neuss
Deutschland
https://global.yamaha-motor.com/
https://www.yamaha-motor.eu/de