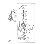
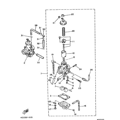
Artikelname: SITZ, FEDER (SEAT, SPRING)
Hersteller: Yamaha
OEM Nummer: 537-14136-00 (5371413600)
Kategorien: Vergaser
1993
TZR125
1992
RD350
Yamaha Motor Co., Ltd.
YAMAHA MOTOR EUROPE N.V.
Hansemannstraße 12, 41468 Neuss
Postfach 21 06 53, 41432 Neuss
Deutschland
https://global.yamaha-motor.com/
https://www.yamaha-motor.eu/de