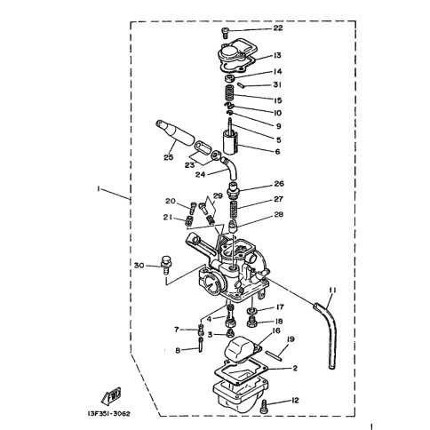
Artikelname: VERGASEREINHEIT 1 (CARBURATEUR 1 COMPLET)
Hersteller: Yamaha
OEM Nummer: 550-14101-10 (5501410110)
Kategorien: Allgemein
1990
CHAPPY (LB50-2AM)
1988
LB50
Yamaha Motor Co., Ltd.
YAMAHA MOTOR EUROPE N.V.
Hansemannstraße 12, 41468 Neuss
Postfach 21 06 53, 41432 Neuss
Deutschland
https://global.yamaha-motor.com/
https://www.yamaha-motor.eu/de