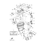
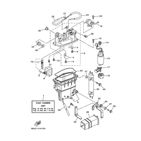
Artikelname: PIPE 8
Hersteller: Yamaha
OEM Nummer: 6AW-1475L-00 (6AW1475L00)
Kategorien: Allgemein
2011
F300A
FL350A
FL300A
F350A
2010
FL350A
FL300A
F300A
F350A
2009
F350A
FL350A
FL300A
F300A
DBW REMO-CON
2008
FL300A
F300A
F350A
FL350A
DBW REMO-CON
Yamaha Motor Co., Ltd.
YAMAHA MOTOR EUROPE N.V.
Hansemannstraße 12, 41468 Neuss
Postfach 21 06 53, 41432 Neuss
Deutschland
https://global.yamaha-motor.com/
https://www.yamaha-motor.eu/de