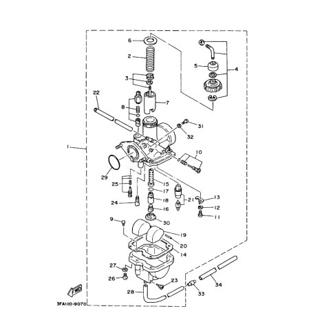
Artikelname: SCREW PANHEAD (SCREW, PAN HEAD)
Hersteller: Yamaha
OEM Nummer: 97802-03008 (9780203008)
Kategorien: Vergaser
2013
GRIZZLY 125 (YFM125A)
2012
GRIZZLY 125 (YFM125A)
2011
GRIZZLY 125 (YFM125A)
2010
GRIZZLY 125 (YFM125A)
2009
GRIZZLY 125 (YFM125A)
2008
GRIZZLY 125 (YFM125A)
2007
GRIZZLY 125 (YFM125A)
2006
GRIZZLY 125 (YFM125A)
2005
GRIZZLY 125 (YFM125A)
2004
GRIZZLY 125 (YFM125A)
BREEZE (YFA1)
2003
BREEZE (YFA1)
2002
BREEZE (YFA1)
1998
BREEZE (YFA1)
1981
XJ550
Yamaha Motor Co., Ltd.
YAMAHA MOTOR EUROPE N.V.
Hansemannstraße 12, 41468 Neuss
Postfach 21 06 53, 41432 Neuss
Deutschland
https://global.yamaha-motor.com/
https://www.yamaha-motor.eu/de